536 Front End Housings

The 536 Front End Housing models were designed for use with our 207K, 207S, 307K, 307S, and 405S Swivel Drawbar Eyes only. Available with either rubber or poly bushings. Find a distributor or view our catalog today to get this part for your trailer or truck. Check out the Compatible Drawbar Eyes tab below for complementary components and the Installation Guide tab for more information!

Description

MODELS

Model #Part #DescriptionCompatible Drawbar Eyes
536A10000871536 Housing, 349 Washer. 437 Rubber Bushings (2)207S, 307S, 405S
536B10000873536 Housing, 349 Washer. 437A Poly Bushings (2)207S, 307S, 405S
536BK10000874536 Housing, 349SEK Washer, 437AK Poly Bushings (2)207K, 307K

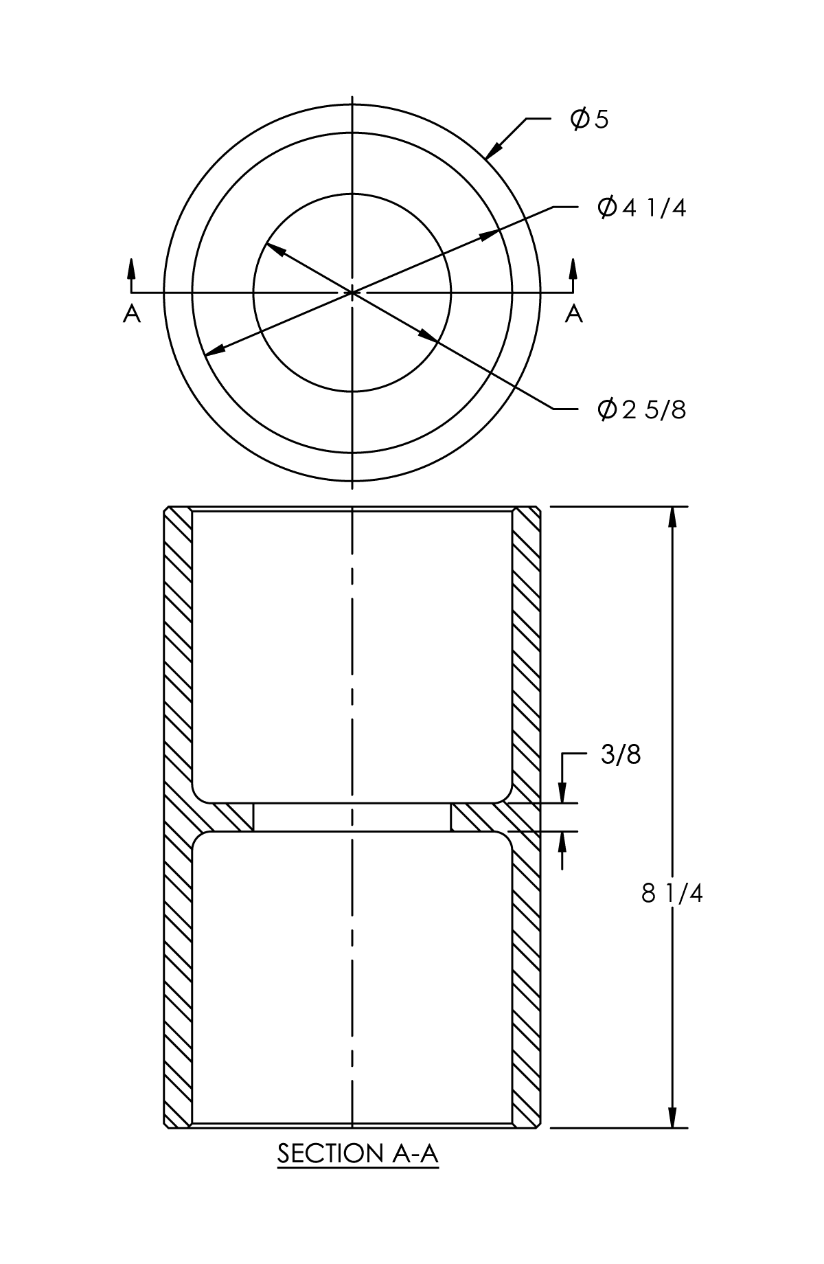
536 HOUSING SPECIFICATIONS

Inside Diameter:2 5/8 in.
Outside Diameter:5 in.
Length:8 1/4 in.

REPLACEMENT PARTS

Model #Part #Description
34910000858Washer
349SEK10000860Washer (for 536BK only)
43710000866Bushing, Rubber
437A10000867Bushing, Poly
437AK10000868Bushing, Poly (for 536BK only)
53610000870Housing Only

REPLACEMENT PART SPECIFICATIONS

Model #Inside DiameterOutside DiameterLength
3492 1/16 in4 1/4 in.
349SEK2 1/16 in5 in.
4372 in.4 1/4 in.4 1/2 in.
437A2 in.4 1/4 in.4 1/2 in.
437AK2 1/4 in.4 1/4 in.4 1/2 in.
  • Custom Truck Accessories

    437 Rubber Bushing

    Premier’s 437 Rubber Bushing can be ordered for replacement in our 435 and 536 Front End Assemblies. Rubber is our standard bushing material and is suitable for most applications. However, you can check out the Similar or Alternatives tab below for ordering information on poly bushings which have a longer service life.
    NOTE:  Each Front End Assembly requires …

  • Custom Truck Accessories

    437A Polyurethane Bushing

    The 437A Poly Bushing can be ordered for replacement in our 435A and 536B Front End Assemblies. Polyurethane bushings typically yield 2 to 3 times the service life of rubber. They are ideal and highly recommended for use in off-road and/or severe applications. Check out the Similar or Alternatives tab below to access important service information on the 435 …

  • Custom Truck Accessories

    437AK Polyurethane Bushing

    The 437AK Poly Bushing can be ordered for replacement for our 536BK Front End Assembly only. Polyurethane bushings typically yield 2 to 3 times the service life of rubber. They are ideal and highly recommended for use in off-road and/or severe applications. Check out the Similar or Alternatives tab below to access important service information on the 536BK Front …

  • Drawbar Eyes

    207 Swivel Drawbar Eyes

    Our 207 Swivel Drawbar Eyes are only to be used with Premier Front End Housings.  Bushings are not

  • Drawbar Eyes

    307 Swivel Drawbar Eyes

    Premier’s 307 Swivel Drawbar Eyes are only to be used with our Front End Housings.  Bushings are not included.  Check out the Optional Accessories tab to access our selection of front ends which include the housing, bushings, and washer.  With a maximum gross trailer weight of 150,000 lbs., the 307 is perfect for a variety of heavy-duty …

  • Drawbar Eyes

    405 Bolt On Swivel Slack Reducing Drawbar Eyes

    Our 405 Swivel Drawbar Eyes are only to be used with Premier Front End Housings.  Bushings are not included.  Check out the Optional Accessories tab to access our selection of front ends which include the housing, bushings, and washer.
    This Drawbar Eye is also Slack-Reducing! It can be used with Premier’s 500 Mechanical Slack Adjuster or  281 and 282 …

You Might Also Like:

Panelite Bug Shields, Cab Panels and more

Minimizer Fenders, Floor Mats, and more

Viking Mud Flaps

Betts HD mud Mud flap Hangers